



Pickup available at
Brisbane (Virginia)
Gold Coast (Molendinar)
Melbourne (Derrimut or Dandenong South Central)
Newcastle (Cardiff)
Adelaide (Kilburn)
Perth (Jandakot)
20 depots across Australia are now fully operational.
Check individual listings for which products are stocked in which locations.
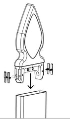
TECH SPECS
• Use to achieve a vertical picket fence look
• Alloy ADC12 aluminium federation topper
• Suits our 65x16.5mm slat
• Available powder coated pearl white or mill finish
• Press into end of slat
• Innovative design feature with polymer inserts ensures tight press in fit (inserts supplied)
• Internally slotted allowing end cap to be used with webbed or non-webbed slats
• Sold as a 4 pack
DESIGN INNOVATION Tapered polymer insert can be installed on one or both sides of topper. Use inserts if topper not a tight fit in slat.

